コンデンサー問題の解法
コンデンサー問題の解法
はじめに
講師のみなさん、こんにちは!新年おめでとうございます。
2015年になり、お正月も終わり、それぞれ新たな目標を胸に学業や部活動、サークル活動やバイトなど忙しい生活に戻りつつある頃ではないでしょうか。
さて、受験生にとっては、センター試験を迎え、私大の入試や来月末には国公立大学の一般入試が始まるなど、いよいよ本番モード突入です。現役生はこれからが力が伸びてくる大事な時期ですのでラストスパート頑張っていきましょう。
さて、今回は物理の電磁気学の分野に関する記事をお届けしようと思います。
扱う内容は、コンデンサー問題の解法の教え方です。
物理の中でもコンデンサー問題は苦手にする生徒も多い分野ではありますが、やはり大学入試ではよく出題される分野でもあります。
コンデンサー問題は一見すると非常に複雑でむずかしく見えます。苦手意識を持つ生徒が多いのは事実ですが、その原因についてまずは考えてみましょう。
原因その1;コンデンサーの振る舞い方が変化する
コンデンサーは静電容量により電荷を蓄えたり、放出したりすることができる電気素子です。
すなわち、回路の状態によっては、コンデンサーは電気を蓄える“充電器”になることもできるし、電気を放出する“電池”になることもできるわけです。
こうしたコンデンサーの振る舞い方の変化が複雑な印象を与えてしまうのでしょう。
原因その2;電流の流れがイメージしにくい。
コンデンサーに限ったことではないですが、回路の問題では回路が複雑になるとなかなか電流の流れがイメージできなくて混乱することが多いようです。
原因その3;複数のスイッチを閉じたり、開いたりして回路の様子が次々に変化する。
複数のスイッチを使った回路では、それらのスイッチを順に閉じたり、開いたりすることで回路の様子が小問ごとに変化していく場合があります。
そうした変化も混乱をまねく要因になるようです。
コンデンサー問題が苦手な生徒に対しては、一見複雑に見える状態をなるべく単純化し、解法パターンを示すことによって理解できるようになり問題も解けるようになっていくと思っています。
これから解法を見ていきますが、要点として示したポイントを中心になるべく話を単純化させながら生徒に解説されるといいかもしれません。
解法のポイント ~準備編~
それでは、いよいよコンデンサー問題の解法の教え方を見ていくことにしましょう。
コンデンサー問題を解く際に抑えるべき鉄則、いわばルールのような問題が存在します。
それは、「定常状態に注目する」ということと「電位で考えること」ということです。
定常状態に注目するというのは、回路に電気が流れていない状態で考えるということです。例えば、回路に電池とコンデンサーがつながれていてスイッチを入れると、電池からコンデンサーに向かって電流が流れていきますが、それによってコンデンサーが充電されていき、徐々に流れる電流は小さくなっていきます。最終的には、コンデンサーの極板間の電圧と電池の電圧が等しくなり、回路に電流が流れなくなります。これが“定常状態”です。
定常状態に注目したら、次は“電位”に従って導線を色分けしていきます。例を以下に示しましょう。
![]()
このようにして、等電位の部分、すなわち導線でつながった部分をグループわけします。このとき、同じ二色間の電位差は等しくなります(例:CD間の電位差とEF間の電位差は等しい)。また、例えば、青とオレンジ間の電位差は、青と赤の電位差と赤とオレンジ間の電位差の和になります(つまり、AC間の電位差は、AB間の電位差とBC間の電位差の和)。こうして色分けすることによって、どことどこの電位差が等しいかが一目瞭然となり、後で出てくるキルヒホッフの法則等が使いやすくなります。
しかし、実際の試験では複数の色ペンを持っていくことはできませんので、色分けする代わりに以下の図のように、各導線を特徴的な線で描いて区別できるようにすればよいと思います。

以上がコンデンサー問題を書く上での大前提であり、ここまでが問題を解く準備段階です。
では、次に方程式を立てて問題を解いていきましょう。
方程式を立てるときに利用する考え方は二つだけです。
キルヒホッフの第Ⅱ法則
電荷量一定の法則
どちらも重要な法則ですね。ここで、この二つの法則について復習しましょう。完璧だという方は読み飛ばしてもらっても構いません。
①キルヒホッフの第Ⅱ法則
回路中の任意のひとまわりの回路について、 起電力の和=電圧降下の和
②電荷量一定の法則
帯電体同士が電気をやりとりするときには、その前後で電気量の総和は変わらない。
実践では、孤立部分に対して電荷量一定の法則を用いる。
この二つの法則から方程式を立てて、その方程式を解いて解を得ることによって問題に答えることができます。
具体的に問題を通して解法を説明しましょう。
解法のポイント ~問題を例に~
(問題)
コンデンサーC1、C2、C3と起電力30の電池、スイッチS1、S2からなる図のような回路がある。電気容量はC1=1.0μF、C2=2.0μF、C3=3.0μFである。
(1)まずS1を閉じ、十分時間がたったとき、C1にたくわえられる電気量Q1[C]を求めよ。
(2)つづいて、S1を開いてからS2を閉じ、十分時間がたった。C2にたくわえられる電気量Q2[C]を求めよ。
(3)最後に、S2を開いてからS1を閉じ、十分時間がたった。C1にたくわえられる電気量Q1′[C]を求めよ。
![]()
(解法)
(1)まず、定常状態において、電位が等しい部分を色分けします(下図参照)。
![]()
問題文の通り、C1にたくわえられる電気量をQ1[C]とおくと、孤立部分の電気量保存の法則からC2にたくわえられる電気量もQ1[C]となることがわかります。次に、キルヒホッフの第Ⅱ法則より、
30-Q1/C1-Q1/C2=0という方程式が得られる。
これを解くと、Q1=2.0×10-5[C]と求められる。
(2)新たな操作(S1を開いてからS2を閉じる)を行う前後での定常状態の回路を、電位に従って色分けします。新たな操作を行う前後両方の回路図を書くのは、電気量一定の法則を使うためです。
![]()
問題文の通り、C2にたくわえられる電気量をQ2[C]とし、C3にたくわえられる電気量をQ3[C]とする。電気量保存の法則より、Q2+Q3=Q1(=2.0×10-5[C])という方程式が得られる。キルヒホッフの第Ⅱ法則より、0=Q2/C2-Q3/C3という方程式が得られる。この連立方程式を解くことで、Q2=8.0×10-6[C]と求められる。
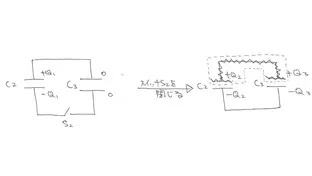
(3)新たな操作(S2を開いてからS1を閉じる)を行う前後での定常状態の回路を、電位に従って色分けします。
![]()
C1にたくわえられる電気量をQ1′[C]、C2にたくわえられる電気量をQ2′[C]とする。電気量保存の法則より、-Q1′+Q2′=-Q1+Q2(=-1.2×10-5[C])という方程式が得られる。キルヒホッフの第Ⅱ法則より、30-Q1′/C1-Q2′/C2=0という方程式が得られる。この連立方程式を解くことで、Q1′=2.4×10-5[C]と求められる。
コンデンサーやスイッチがいくつも使われた回路の問題では、複数のスイッチを順に閉じたり開いたりして回路の様子が変化していくので混乱しやすくなりますが、操作をする前と後の回路の定常状態を把握し、電位に従ってきちんと色分けをすれば、立てるべき方程式が見えてくるのではないかと思います。
まとめ
以上がコンデンサー問題の解法になります。
最後にもう一度、解法パターンを確認しますと、
定常状態における回路を、電位に応じて色分けする
↓
キルヒホッフの第Ⅱ法則と電荷量一定の法則を用いて方程式を立てる
↓
方程式を解く
太字で示したところがポイントです。このポイントを強調しながら生徒に解説されるとわかりやすくなるのではないかと思います。
最後までご覧いただきありがとうございます。
塾講師ステーションにはこのほかにもあなたのお探しの情報があると思います。
是非ご活用ください!
